Объясните про змей, пли-из!

Автор Krotov, 11 февраля, 2010г., 23:17

« предыдущая - следующая »

0 Пользователей и 1 гость просматривают эту тему.



Krotov

Спасибо. Вопросы ещё остались. Но не все сразу а по очереди.
Скажите, а можно так установить Удав чтобы он управлялся изнутри двери. Ну, тоесть чтобы на внутреннем листе двери было чтото, что можно крутить (ручка или штурвальчик).
Понимаете бывают заказы, где ворота нужно закрывать изнутри и выходить уже через внутреннюю дверь. Или для разных производств заказы.

dima

Цитата: ЛБВ от 22 февраля, 2010г., 18:39

Правда, в процессе начала реального применения было выявлено "слабое место". Им оказались точки крепления тяг к ригелям, которые монтажники ряда фирм, наплевав на инструкции и имеющиеся в комплекте детали (они их просто выбрасывали!) тупо (и криво) варили жёстко и бескомпромисно!
     (А я так гордился своей конструкцией этого узла - простой, надёжной, удобной в монтаже ...)

Вот же плохие люди  >:( Первое, что бросилось в глаза,когда взял Удав в руки, так это именно доработанность и удобство этого узла

ЛБВ

 На самом деле, ситуация для России ( уж не знаю, как в других странах) почти стандартная. Так, неоднократно, когда возникали те или иные проблемки с нашими разработками, удивляясь, мы спрашивали: - " А Вы инструкцию читали? ".  Стандартный ответ: - "Да кто-ж их читает, Борис Васильевич...". И, боясь таких "всезнаек", когда мне предлагали в помощь или в работники опытных мастеров, я категорически отказывался: - "Только не это! Дайте просто умного человека с руками, растущими из нужного места. А научить я его сам научу."  Ибо "опытный" сам знает, как надо и твои объяснения - указания воспринимает как надоедливую, занудную, ни к чему не обязывающую болтовню - "Говори - говори, а отойдёшь - буду делать по своему...".
Руководитель ОКБ "БАРК" Профессиональный изобретатель. Инженер-конструктор.

Рафаэль

Цитата: ЛБВ от 23 февраля, 2010г., 15:48
"Говори - говори, а отойдёшь - буду делать по своему...".

Ага. А потом винят конструктора
С уважением,Рафаэль.  г.Самара

dima

Вот же :) не успел именно это процитировать :) опередил..

dima

На самом деле умение слушать и выслушивать большая разница, сам не до конца умею..

D_V

Цитата: Aquarius от 13 февраля, 2010г., 10:39
Борис Васильевич,а если не сильно затруднит,сопроводите пожалуйста свою "лекцию" графическими материалами...для пущей наглядности


Подробную информацию о разработке дифференциального механизма "Удав" можно будет найти в статье на сайте ОКБ БАРК

http://okbbark.ru/Txt/St_1_ud_history.html

Статья еще пишется и  добавляется по частям. Можно поучаствовать в этом процессе, направляя пожелания и замечания в личку или на почту: okbbark@ya.ru

Здесь же начнем с графических материалов, использованных в патенте.

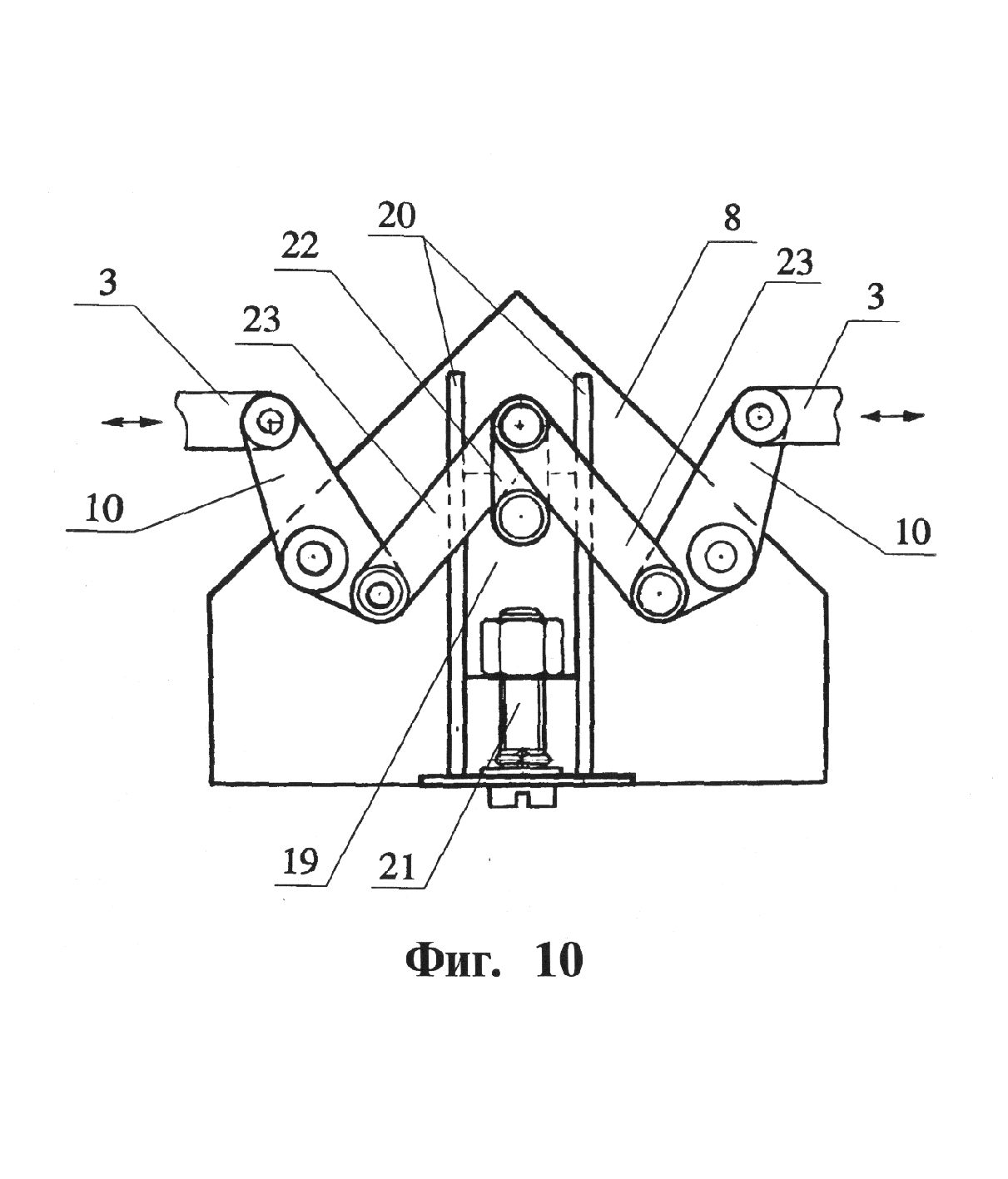
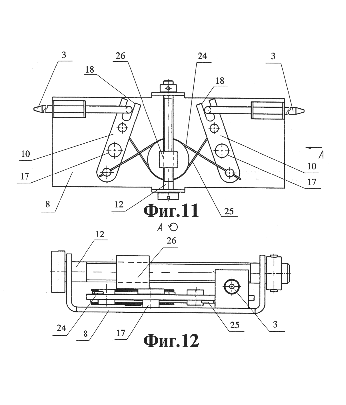
Схематичное изображение работы ригелей (иллюстрации из патента)


   


Прототип - / - Дифференциальный механизм "Удав" - / - Сечение

 
                              


Варианты исполнения дифференциального механизма "Удав"


                    

Егоров Д.В. инженер-конструктор ОКБ "БАРК"

Aquarius

Спасибо *Drink* Только вот что хотелось бы уточнить.К сожалению,не указаны размеры.Просьба указать,если и не все,но хотя бы самые важные...
Например вот здесь мы уже пытались кое-что обсуждать,но всё уперлось в отсутствие размеров...Вот небольшой фрагмент:
"Требования и нормы проектирования по защите объектов от преступных посягательств.

РД 78.36.003-2002
.
.
.
5.6.4. Двухстворчатые двери должны оборудоваться двумя стопорными задвижками (шпингалетами), устанавливаемыми в верхней и нижней части одного дверного полотна. Сечение задвижки должно быть не менее 100 мм2, глубина отверстия для нее - не менее 30 мм."(с)

Просьба прокомментировать по возможности этот момент.
Спасибо :)
С уважением Сергей.
www.dvernoydoktor.ru

ЛБВ

 Отвечаю по некоторым параметрам "УДАВа":
   - диаметр штатных ригелей 16 мм, соотв. площадь сечения порядка 200 мм. кв.;
   - можно подключать ЛЮБЫЕ другие ригели....;
   - вылет ригелей 26 мм.
Руководитель ОКБ "БАРК" Профессиональный изобретатель. Инженер-конструктор.

Новик

Цитата: D_V от 15 марта, 2010г., 13:34
Схематичное изображение работы ригелей (иллюстрации из патента)


   


Прототип - / - Дифференциальный механизм "Удав" - / - Сечение

 
                              


Варианты исполнения дифференциального механизма "Удав"


                    



  Скажите уважаемые господа конструкторы. А что это за механика в рисунках 12 и 13

ЛБВ

  Это очень интересный и кое в чём весьма перспективный вариант дифференциального запирающего механизма. С передачей усилия не по прямой - жёсткой тягой, а гибкими тросиками. И дифференциал реализован не на основе коромысла, а иным путём, теми же тросиками.....
Руководитель ОКБ "БАРК" Профессиональный изобретатель. Инженер-конструктор.

Новик

  Спасибо  Я вот попробовал сделать мадельку по вашему чертежу. Получилось! УРА!  :bt:
Извеняюсь, я не для того, чтобы варовать как некоторые. Мне просто интересно. :ca: Такой механизм можно применять во многих случаях. Уже представляю. А если захочу его поставить в дверь, то это надо обязательно у вас спрашивать разрешенния?

ЛБВ

   Да, ЭТОТ вариант может иметь ряд очень интересных модификаций.
А для того, чтобы применить чью-либо разработку для ЛИЧНЫХ (не коммерческих) нужд особого разрешения не требуется. Да и как это проверишь?
Руководитель ОКБ "БАРК" Профессиональный изобретатель. Инженер-конструктор.

юрий 2010

Первый раз зашел в эту тему :)
Мне, как потребителю, интересно узнать: где можно в Москве приобрести данные устройства в розницу, не опасаясь при этом "прикупить" контрафакт.
Это возможно?

ЛБВ

11 мая, 2010г., 10:36 #29 Последнее редактирование: 11 мая, 2010г., 10:38 от ЛБВ
 К счастью, контрафакта по "УДАВу" пока не наблюдалось. (Кроме, разве что, его отдалённого подобия - Питона).
Приобрести его можно ТОЛЬКО У НАС... (в ОКБ "БАРК).
Смотрите все ( что нужно для приобретения ) у нас на сайте....
Руководитель ОКБ "БАРК" Профессиональный изобретатель. Инженер-конструктор.



Материал сайта ZamkiDveri.org, размещенный в разделах: «Представительства компаний», «Акции, скидки», носит исключительно информационный характер и ни при каких условиях не является публичной офертой, определяемой положениями Статьи 435, 437, 494 Гражданского кодекса РФ. Для получения подробной и точной информации о стоимости продукции, скидках, акциях и спецпредложениях, пожалуйста, обращайтесь напрямую к производителям или официальным дилерам. Указанные цены, технические описания продуктов, в т.ч. в виде графических изображений, являются предварительными и не гарантируются нашим сайтом.