Сувальдный ключ Барьер

Автор Aquarius, 16 сентября, 2010г., 00:28

« предыдущая - следующая »

0 Пользователей и 1 гость просматривают эту тему.



Aquarius

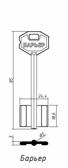
Вот в каталоге,небезизвестной отечественной фирмы-изготовителя заготовок ключей,есть вот такая заготовка

Уж не от того ли самого,давно ожидаемого сувальдного замочка Барьер,этот ключик?
Хоть таким окольным путём взглянуть бы на него ;)
С уважением Сергей.
www.dvernoydoktor.ru

АВС

Цитата: Aquarius от 16 сентября, 2010г., 00:28
Уж не от того ли самого,давно ожидаемого сувальдного замочка Барьер,этот ключик?


"Это он, это он - Ленинградский... " ключик. Он!
Вот это оперативность.  *Thumbs up*
С уважением, Александр Сторожев.

Aquarius

Цитата: АВС от 16 сентября, 2010г., 11:26
"Это он, это он - Ленинградский... " ключик. Он!
Вот это оперативность.  *Thumbs up*


Да,этот пример-действительно отличный пример для подражания! *Thumbs up* Работать,так сказать,на опережение и идти на полшага впереди-это прекрасно! Вот только рисковано....где же этот замочек? Когда же он наконец появится в продаже? ???
С уважением Сергей.
www.dvernoydoktor.ru

АВС

Думаю, что осталось ждать совсем немного.
Долго запрягаем, зато потом....  :em:
С уважением, Александр Сторожев.

vitali

   Заготовочки такие имю в мастерской,а вот сделать дубликат пока не обращались.
И все таки они открываются...

keys777

Цитата: vitali от 18 сентября, 2010г., 16:48
   Заготовочки такие имю в мастерской,а вот сделать дубликат пока не обращались.

Вот кто на опережение работает...  :D Замка еще нет, а заготовки уже имеются...  :)

Aquarius

Цитата: vitali от 18 сентября, 2010г., 16:48
   Заготовочки такие имю в мастерской,а вот сделать дубликат пока не обращались.

Давайте устроим "монопольный сговор"! :D сговоримся почём эти ключи делать будем? ;) :D
зы:сколько там погрешность можно делать,как на Эльборе?
С уважением Сергей.
www.dvernoydoktor.ru

АВС

Теперь у у меня есть заготовки на Б-П !
Цена будет обычной - 100 руб.
А погрешность при изготовлении дубликата лучше не делать !
Вот будут у меня замки, можно будет определиться сколько плюса "скушает" этот замок.
С уважением, Александр Сторожев.

Aquarius

Цитата: АВС от 06 ноября, 2010г., 16:13
Теперь у у меня есть заготовки на Б-П !
Цена будет обычной - 100 руб.
А погрешность при изготовлении дубликата лучше не делать !
Вот будут у меня замки, можно будет определиться сколько плюса "скушает" этот замок.

Александр,так и пытаетесь "накормить замки плюсами"! :D *Drink* А вот ещё,при наличии замков,дайте пожалуйста свою оценку этого замка,на предмет усилия воздействия на ключ,и соответственно на скорость износа ключа.Типа сравнительный анализ,по сравнению с другими сувальдными замками.Или тут всё будет примерно одинаково...?...
С уважением Сергей.
www.dvernoydoktor.ru

АВС

С уважением, Александр Сторожев.

vitali

Цитата: Aquarius от 16 сентября, 2010г., 00:28
Вот в каталоге,небезизвестной отечественной фирмы-изготовителя заготовок ключей,есть вот такая заготовка

Уж не от того ли самого,давно ожидаемого сувальдного замочка Барьер,этот ключик?
Хоть таким окольным путём взглянуть бы на него ;)


   В живую...
 
И все таки они открываются...

Светлана

Ещё вживую: http://www.keysmaster.com.ua/product_info.php?products_id=49
Нарезала буквально вчера: ключ китайского сейфа из какого-то алюминиевого сплава просто отказывался работать. Срезала полку, сделала выемку на приводном зубе, нарезала в плюсе, чуть подогнала.

МВН

Цитата: Aquarius от 16 сентября, 2010г., 15:36
Работать,так сказать,на опережение и идти на полшага впереди-это прекрасно!

Ключ заказан и изготовлен достаточно давно, по заказу и размерам производителя.
Производитель ключей ПК Конаково.

Aquarius

Цитата: МВН от 08 ноября, 2010г., 14:49
Производитель ключей ПК Конаково.

В курсе *Drink* :)

Цитата: МВН от 08 ноября, 2010г., 14:49Ключ заказан и изготовлен достаточно давно, по заказу и размерам производителя.

Сам поливектор заказал эти ключи для себя? В смысле,ПК Конаково и является поставщиком заготовок для их производства?
С уважением Сергей.
www.dvernoydoktor.ru

МВН

Цитата: Aquarius от 08 ноября, 2010г., 16:53
Сам поливектор заказал эти ключи для себя? В смысле,ПК Конаково и является поставщиком заготовок для их производства?

Да, сегодня отправляется первая партия на завод.
А что тут удивительного.
ПК Конаково сотрудничает со многими заводами, Класс(бывший),Цербер, Меттем, Эльбор, ПРО САМ(частично), Сенат, НПО-МАШ, Семеко, Страж и др.
Готовы изготовить любой ключ с вашим логотипом, телефоном и портретом.

Похожие темы (2)



Материал сайта ZamkiDveri.org, размещенный в разделах: «Представительства компаний», «Акции, скидки», носит исключительно информационный характер и ни при каких условиях не является публичной офертой, определяемой положениями Статьи 435, 437, 494 Гражданского кодекса РФ. Для получения подробной и точной информации о стоимости продукции, скидках, акциях и спецпредложениях, пожалуйста, обращайтесь напрямую к производителям или официальным дилерам. Указанные цены, технические описания продуктов, в т.ч. в виде графических изображений, являются предварительными и не гарантируются нашим сайтом.